全面记录平台所有用户的操作行为(含新增、修改、删除、登录、开锁等),支持多维度精准查询与国际通用格式导出。
基础操作:进入功能界面
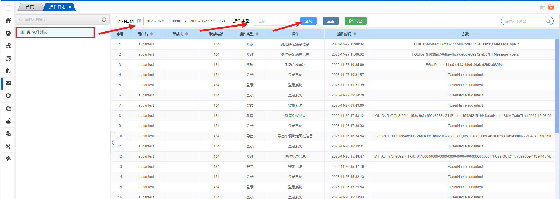
从系统左侧菜单栏,找到「事件消息」模块,点击「操作日志」选项,进入功能主界面;界面按 “筛选区 + 日志列表 + 功能操作区” 布局,操作入口清晰,契合国际用户高效检索习惯。
核心操作:多维度筛选查询操作日志
按步骤设置筛选条件,精准定位目标操作记录,流程如下:
- 选择目标账户:从 “账户” 下拉菜单中,勾选单个或多个需查询的用户账户,明确查询对象。
- 设置日期区间:点击 “日期选择” 框,分别设置开始日期与结束日期,限定查询的时间范围。
- 筛选操作类型:从 “操作类型” 下拉菜单中,勾选目标类型(如新增、修改、删除、登录、开锁等)。
- 执行查询:点击「查询」按钮,系统按筛选条件展示日志记录,包含操作人、账户、操作类型、操作时间、IP 地址、操作描述等核心信息。
- 支持模糊搜索辅助:可通过操作描述、IP 地址片段快速缩小查询范围,提升检索效率。

数据导出:多格式合规存档
支持将筛选后的日志数据导出为国际通用格式,满足审计、归档需求:确认筛选结果无误后,
点击页面上方「导出」按钮;从下拉菜单中选择导出格式(Excel/Word/PDF),点击「确认」系统自动生成文件并下载。
文档更新时间: 2025-11-27 11:27 作者:苏莉云