为 JT300T1、JT704A-04、JT301A 系列产品设计,记录设备行驶过程中的加速状态数据,支持列表与折线图双模式查看及路线追溯。
基础操作:查询加速度数据
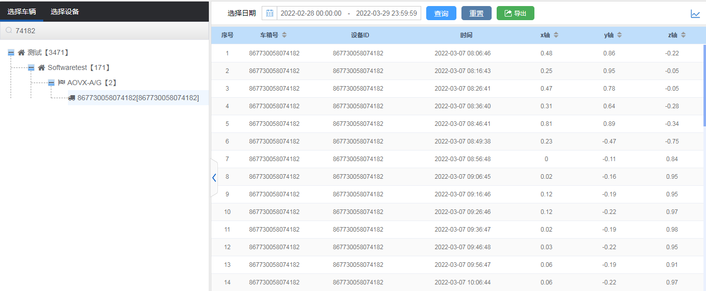
进入功能界面:从系统菜单依次点击「报表服务」→「加速度报告」,进入功能主界面;
- 选择查询对象:勾选目标车辆或设备(仅支持指定系列产品)。
- 设置时间范围:点击日期选择框,配置需查询的加速状态统计时间区间。
- 执行查询:点击「查询」按钮,系统展示符合筛选条件的加速度记录。

核心功能:多模式查看与路线追溯
列表模式查看
查询后默认展示列表视图,清晰呈现各加速事件的关键信息,包括加速时间、关联设备 / 车辆编号、加速相关参数等,便于精准提取细节数据。
折线图模式查看
点击界面右上角「曲线图标」,切换至折线图视图:
- 以时间为横轴、加速度数值为纵轴,直观展示加速状态变化趋势。
- 不同时段的加速强度一目了然,便于对比分析行驶过程中的加速行为规律。
- 行驶路线查看
切换至任意视图后,底部地图页面将同步展示设备 / 车辆的行驶路线,可结合加速度数据与路线轨迹,综合分析加速事件发生的场景背景。
数据导出
确认查询结果与需导出的记录后,点击界面上方「导出」按钮,选择导出格式(Excel/Word/PDF),点击「确认」系统自动生成文件并下载,文件命名便于快速识别。
文档更新时间: 2025-12-02 15:39 作者:苏莉云